公司新闻

离心泵如何用凸缘联轴器结构

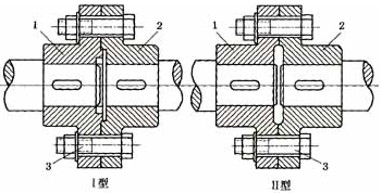
  离心泵凸缘联轴器由两个带凸缘的半联轴器构成。两个半联轴器分别用键与机泵联接,并用螺栓将两个联轴器联接在一起,如图1所示。
 
  离心泵用凸缘联轴器结构图
 
离心泵结构图
 
  图1离心泵用凸缘联轴器结构图
 
  1、2-半联轴器;3-联接螺栓
 
  凸缘联轴器的结构首要有I型和Ⅱ型两种。
 
  1、Ⅰ型具有对中榫,一个半联轴器上有凸肩,可与另一个半联轴器上相应的凹槽协作进行对中,拆开时要移动轴。I型凸缘联轴器选用一般螺栓联接,螺栓与孔问有空地,扭矩的传递是依托拧紧螺栓在凸缘接触外表发作的抵触力矩来完结的。
 
  2、Ⅱ型无对中榫,依托半联轴器上的铰制孔用螺栓对中,拆开时不需要移动轴,但铰孑1加工费事。Ⅱ型凸缘联轴器选用精制螺栓联接,螺栓和孔为过度协作,联轴器靠螺栓传递扭矩,在工作中螺栓受剪切和挤压。
 
  3、凸缘联轴器结构简略,成本低,保护简单,能传递较大的力矩,运用广泛。凸缘端面与轴线有较高的垂直度,轴线对中精度请求高;联轴器不能吸收振荡和冲击,不能消除设备过失引起的不良后果。因而,它首要用于载荷较平稳的两轴联接。
 
  4、半联轴器的资料一般为35号、45号、ZG45号钢,当转速不高时可用铸铁HT20-40制造。
 
  5、凸缘联轴器的转速受其外缘速度限制,钢制半联轴器外缘的极限速度不宜逾越70m/s,铸铁制半联轴器外缘的极限速度不逾越35m/s。

标签:离心泵
  

Copyright © 2010-2020 广一泵业集团有限公司版权所有